SD7500

Current

Voltage

Auto or Manual

Automatic

Automatic

Counts

4000

4000

LCD

IC Introduction

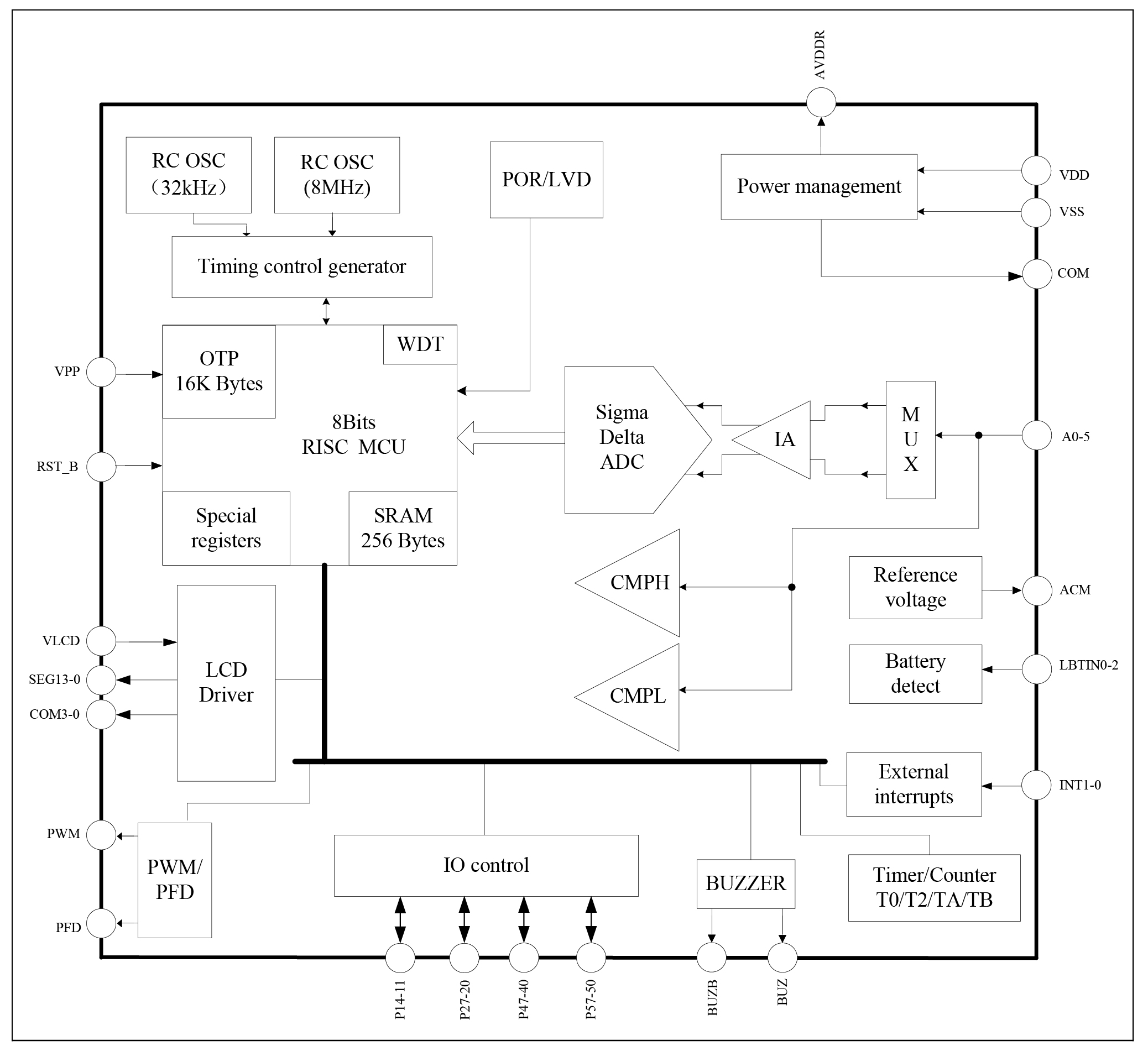
        The SD7500 is a SoC with built-in 24 bit ADC and 16k Bytes OTP memory. The IC was designed with ultra-low power technology. Operates at 3.3V supply and internal RC oscillator frequency, the total typical operating current is 1.6mA.
        It has very rich peripheral resources: selectable regulated voltage source, flexible ADC setup, voltage booster, UART, TIMER with CAPTURE capability, PWM, PFD, and LCD driver.
        The OTP can be programmed in situ and the 2.4~3.6V programming voltage is generated internally. The OTP can be used in place of external EEPROM.
        Three working modes are provided so users can select the optimum choice between speed and power. They are normal mode, standby mode, and sleep mode.


IC Features
  • 6 channels ADC, 4000 counts, auto-range measurement

  • AC true RMS output, measurement error<0.5% at 2kHz passband corner

  • Built-in voltage divider, no external resistor divider needed

  • Programmable multi-functional measurement network, support voltage, current, resistor, diode, transistor, open/short, temperature, and capacitor measurements

  • Multi-functional comparator

  • 8 bits RISC ultra-low power MCU, 49 instructions and 6 stack levels. The MCU current consumption is 400μA typically at 3.3V and 2MHz operating clock rate. Standby current is 1.5μA at 32kHz clock, and less than 1μA at sleep

  • 16k Bytes OTP for program storage, 256 Bytes SRAM for data storage

  • Low OTP programming voltage, can replace external EEPROM

  • Flexible battery voltage detection range 2.0~3.3V

  • Abundant peripheral resources: UART, PWM, PFD, BUZ, and TIMER

  • 14SEG × 4COM LCD drive, ultra-low power consumption and high driving capability, programmable boost module to maintain luminance at low supply voltage, support grey scale adjustment. Support grey scale adjustment

  • Every digital I/O port contain Schmitt trigger input and selectable pull up resistor

  • Low voltage detection and power on reset circuit

  • Operating voltage range: 2.4~3.6V

  • Operating temperature range: -40 ~85 ˚C

  • Built-in 8MHz and 32kHz RC oscillators

IC Block Diagram
Related Products Recommendation

Product Series

Sample Requests
and Purchase

Product
Directory

Please fill in a real and valid email address!